Botswana – home to the world’s largest remaining population of African elephants – is losing its most valuable wildlife asset at a rate far higher than officials have acknowledged, according to a major new report released by Elephants Without Borders (EWB).
Combined with an aggressive trophy-hunting quota and rising mortality from hunting, drought and human-elephant conflict, the country’s elephant management system is entering what researchers describe as a dangerous period of biological and economic fragility.
Adding to this, elephant poaching in northern Botswana is now occurring with “alarming regularity”, targeting the nation’s biggest and most economically significant bulls.
According to one of the authors, Scott Schlossberg, “poachers and trophy hunters are both targeting the same elephants: older bulls with big tusks. So poaching directly affects hunting by reducing the number of bulls available to hunters. In the long run, controlling poaching is one of the best ways to ensure the sustainability of legal hunting.”
EWB’s population simulations demonstrate that:
When hunting quotas are high, the population has no buffer to absorb spikes in poaching, drought mortality, or human–elephant conflict;
Even minimal poaching deeply depresses trophy sizes; and
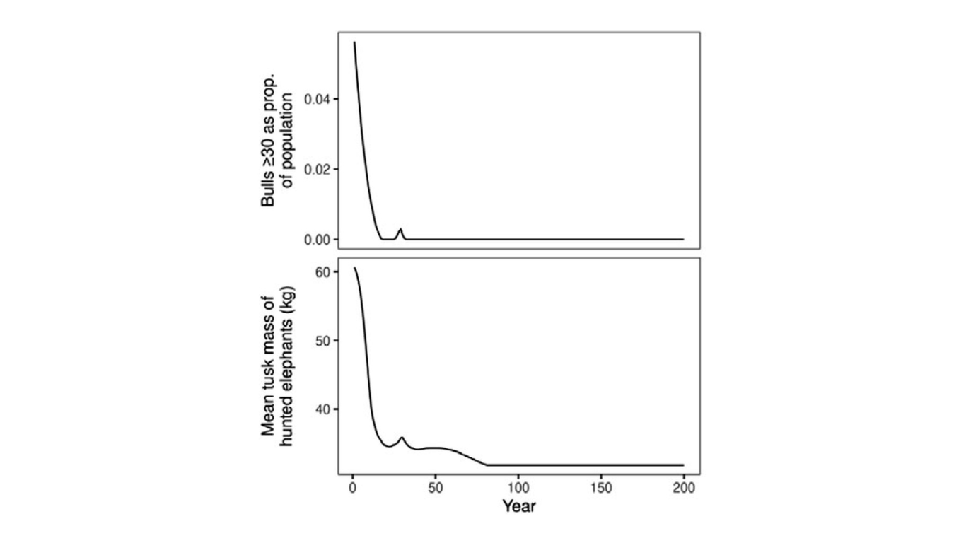
A decade-long poaching outbreak of around 500 elephants a year reduces trophy size for up to 50 years.
Unfortunately, says the report, the monitoring system used by the Department of Wildlife and National Parks (DWNP) relies primarily on tracking the tusk sizes of hunted elephants. This approach detects declines a decade too late – after irreversible depletion has already taken place.
In economic terms the findings are a warning: Botswana could be losing an estimated BWP2.5-billion (about R3-billion) every year from elephant poaching – losses that fall disproportionately on rural communities, tourism operators and the national treasury.
When numbers of bulls become depleted, says Schlossberg, it directly affects the hunting industry. “They have fewer bulls to hunt, and hunters are forced to take younger bulls with smaller tusks. That sort of change can impact the hunting outfits’ bottom line and the revenue that Botswana receives from hunting fees.”
Poachers target old bulls with big tusks
In Botswana, poachers select for the biggest tusks – and therefore the oldest males. In EWB’s datasets, the average age of poached elephants is around 41 years, compared to 29 years in elephants dying of natural causes. These old bulls are the country’s biological crown jewels:
They carry the largest, most impressive tusks, crucial for high-value photographic tourism;
They serve as leaders in male elephant societies, guiding younger bulls through landscapes and migrations; and
They are disproportionately important for mating success.
Losing such bulls has cascading effects – not only on tourism revenue and genetic health but on elephant behaviour. When old males are removed, younger bulls can become more aggressive and less disciplined.
Collision course with science
While poaching escalates, Botswana has sharply increased its trophy-hunting quota. After lifting the hunting moratorium in 2019, the 2025 quota rose to 410–431 elephants, equivalent to 0.29–0.31% of the national population. In 2019 the elephant quota was 290. By 2025 it had risen to 431 – an increase of 48.6%.
The assumption was that this level of hunting would be biologically harmless to a population of roughly 140,000 elephants. But this statistic is dangerously misleading. According to one of the report’s authors, Dr Mike Chase, “the real threat is not how many elephants are killed, it is which elephants are being removed.
“Trophy hunting doesn’t remove a random sample of elephants. It disproportionately targets the largest, oldest bulls, usually over 40 years old, the carriers of Botswana’s biggest tusks and strongest genetic traits. These elephants represent only a tiny fraction of the population.”
Trophy hunting also does not occur across the whole elephant range. It is concentrated in specific hunting blocks that together hold only about 45,000 elephants. Within those areas, the effective harvest rate reaches 0.9% – almost double the rate that the government itself previously declared “biologically safe”.
EWB’s modelling shows that at a 0.9% harvest rate, older bulls disappear entirely within 25 years. Tusk sizes shrink steadily until hunters are forced to take bulls that barely meet minimum trophy thresholds.
The government’s justification for these high quotas is based heavily on a 2011 study that the EWB report identifies as seriously flawed. EWB alleges that the 2011 study used invented survival rates, ignored density-dependent population dynamics (the way an elephant population’s growth rate changes in response to its own density) and failed to incorporate known ecological processes.
Bull immigration
One of the report’s most striking findings is the extent to which hunting zones in Botswana are population sinks – areas that lose more bulls to hunting than they can naturally produce.
Trophy hunting relies on a constant flow of big bulls migrating out of protected areas such as Chobe and the Okavango Delta into the hunting block.
The latest quota allows for 84 elephant to be hunted in blocks bordering immediately on the Okavango Delta and 75 to be hunted in blocks bordering Chobe National Park, of which 30 may be hunted along the Chobe River itself.
But because trophy hunting targets the biggest and the best, it will become more difficult to find trophy-quality bulls with big tusks.
Early survey data suggests that elephants may be starting to avoid hunting areas, a behavioural shift that would undermine the entire hunting model. If bull immigration slows, hunting operators could face a rapid collapse of trophy quality within a few years.
The poaching problem
The report shows a consistent trail of ivory-poaching interceptions from 2023 to 2025, exposing organised international syndicates operating with troubling efficiency.
On 23 November 2023, authorities seized 26 elephant tusks weighing 652kg, the equivalent of more than 10 large bulls. Three days later, another batch of 15 tusks was intercepted, followed by nine tusks on 3 December. On 5 December, a further 18 tusks and seven suspects were detained near Savuti. In May and June 2024, interceptions continued – one involving 19 tusks on Namibia’s side of the border, another involving six tusks seized by the Botswana Defence Force (BDF).
The most recent incident occurred on 10 September 2025, when BDF patrols along the Linyanti River recovered 13 freshly poached tusks abandoned by a foreign gang fleeing across the border. The matching elephant carcasses – with faces hacked open to remove ivory – were later located in neighbouring concessions.
Between November 2023 and May 2024 alone, law enforcement intercepted seven armed poaching gangs fleeing Botswana with ivory from freshly killed elephants. In just six months, authorities seized 103 tusks weighing nearly three tonnes. These figures expose the scale, organisation and persistence of cross-border poaching now hitting Botswana’s elephant population.
Poaching appears to be conducted with impunity in both Chobe national parks and two tourism concessions by foreign gangs. In the concessions, 120 elephants were poached between October 2023 and May 2025.
The way forward
For four consecutive years, EWB has requested basic hunting and PAC (problem animal control) data from DWNP, including the ages, sexes and trophy measurements of elephants killed. No such information has been provided.
This data is essential for assessing sustainability and is required under the Elephant Management Plan. For four years, the NGO has formally requested elephant mortality data and detailed hunting records from the Department of DWNP without success.
The report also raises governance concerns, noting that both Botswana’s Elephant and Leopard Management Plans were authored by a foreign hunting-advocacy organisation, Conservation Force, without adequate transparency or local consultation. This, EWB argues, undermines the objectivity of national wildlife policy and places it in the hands of foreign vested interests.
“When National Parks was planning for hunting, they assumed a healthy environment with few threats to elephants,” Schlossberg said.
“In the real world, we know that elephants are being lost to drought, poaching, disease and retaliatory killings. But we don’t know exactly what future levels of these losses will be. So setting a lower quota, at 0.1 or 0.2% of the population, is the best way to ensure that we have enough mature bulls to withstand whatever happens in the future.
A choice
The report closes with a warning: if current hunting quotas and ivory poaching continue, Botswana risks losing not only its largest elephants but also a major economic engine which is tourism.
EWB recommends:
Reducing hunting quotas to 0.2% or below , creating resilience to drought, poaching spikes and demographic shocks;
Improving transparency by releasing all hunting and PAC data.
Investing in year-round anti-poaching surveillance , including aerial patrols and drones;
Protecting key non-hunting areas that supply bulls to hunting blocks; and
Recognising the high economic value of living elephants and integrating this into national development planning.
As the researchers conclude, “Poaching by foreign syndicates is stealing directly from Batswana – from communities, from the tourism industry and from the nation’s identity itself.” In a country where each elephant represents millions in future value and the promise of long-term ecological stability, the cost of mismanagement may be felt for generations.
Daily Maverick sent the report to the Director of the DWNP, Moemi Batshabang, on Monday, 24 November, asking for his government’s response to the report, but by the time of publication, he had not replied.